Product Summary
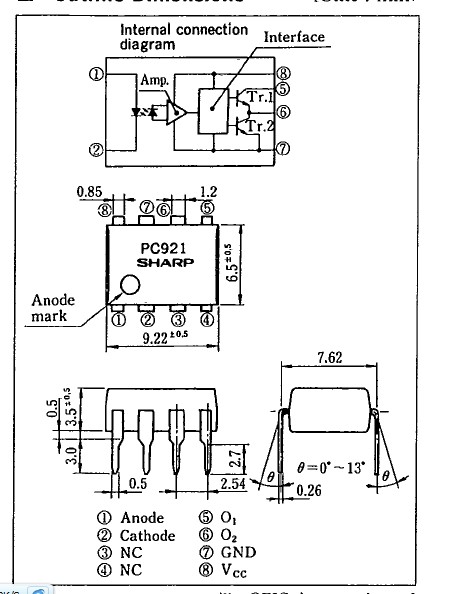
The PC921 is a high power opic photocoupler. The PC921 has a light detecting element and signal processing circuitry integrated onto a single chip.
Parametrics
PC921 absolute maximum ratings: (1) Input Forward current IF: 25mA; (2) Input Reverse voltage vR: 6V; (3) Output Supply voltage Vcc: 15V; (4) Output Oi output current Io1: 0.5A; (5) Output 20f peak output current Io1P: 1.0A; (6) Out put02 output current Io2: 0.6A; (7) Output 202 peak output current Io2P: 2.0A; (8) Output Oi Output voltage Vo1:15V; (9) Output Power dissipation Po: 500mW; (10) Total power dissipation Ptot: 550mW; (11) Operating temperature Topr: -20 ~+80 ℃; (12) Storage temperature TsLg: -55 ~+125℃.
Features
PC921 features: (1)Built-in base amplifier for power transistor drive; (2)High power (I01: MAX. 0.5A (DC))(I02P : MAX. 2.0A (pulse)); (3)High speed response (tpHL, tpLH- MAX, 5μS); (4)High sensitivity (IFLH: MAX, 5mA); (5)UL recognized, file No. E64380.
Diagrams

| Image | Part No | Mfg | Description | ![]() |
Pricing (USD) |
Quantity | ||||||
|---|---|---|---|---|---|---|---|---|---|---|---|---|
![]() |
![]() PC921 |
![]() Other |
![]() |
![]() Data Sheet |
![]() Negotiable |
|
||||||
| Image | Part No | Mfg | Description | ![]() |
Pricing (USD) |
Quantity | ||||||
![]() |
![]() PC92 |
![]() |
![]() PCB COPPER CLAD 6 X 9" 2 SIDE |
![]() Data Sheet |
![]()
|
|
||||||
![]() |
![]() PC920 |
![]() Other |
![]() |
![]() Data Sheet |
![]() Negotiable |
|
||||||
![]() |
![]() PC921 |
![]() Other |
![]() |
![]() Data Sheet |
![]() Negotiable |
|
||||||
![]() |
![]() PC922 |
![]() Other |
![]() |
![]() Data Sheet |
![]() Negotiable |
|
||||||
![]() |
![]() PC923 |
![]() Other |
![]() |
![]() Data Sheet |
![]() Negotiable |
|
||||||
![]() |
![]() PC923L0NIP0F |
![]() Sharp Microelectronics |
![]() High Speed Optocouplers Gull Wing SMT Hi Speed 15Mb/s |
![]() Data Sheet |
![]() Negotiable |
|
||||||
(China (Mainland))









