Product Summary
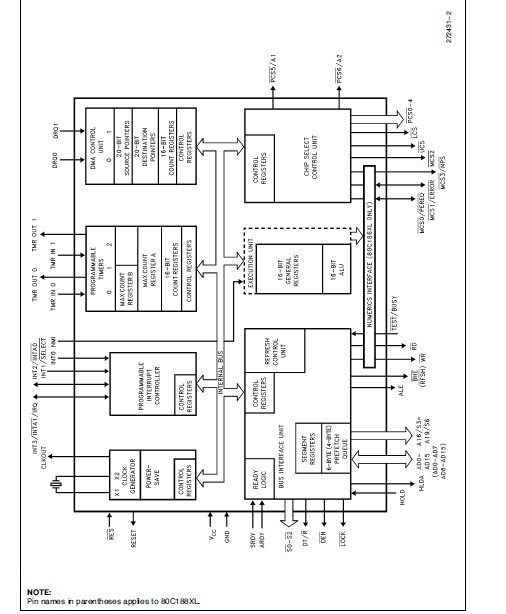
The N80C186XL12 is a high integration embedded processor. Unless specifically noted, all references to the N80C186XL12 apply to the 80C188XL. References to pins that differ between the N80C186XL12 and the 80C188XL are given in parentheses. The following Functional Description describes the base architecture of the N80C186XL12. The N80C186XL12 is a very high integration 16-bit microprocessor. It combines 15±20 of the most common microprocessor system components onto one chip. The N80C186XL12 is object code compatible with the 8086/8088 microprocessors and adds 10 new instruction types to the 8086/8088 instruction set. The N80C186XL12 has two major modes of operation, Compatible and Enhanced. In Compatible Mode the N80C186XL12 is completely compatible with NMOS 80186, with the exception of 8087 support. The Enhanced mode adds three new features to the system design. These are Power-Save control, Dynamic RAM refresh, and an asynchronous Numerics Coprocessor interface (80C186XL only).
Parametrics
N80C186XL12 absolute maximum ratings: (1)Ambient Temperature under Bias: 0℃ to a70℃; (2)Storage Temperature: 65℃ to a150℃; (3)Voltage on Any Pin with Respect to Ground: 1.0V to a7.0V; (4)Package Power Dissipation: 1W.
Features
N80C186XL12 features: (1)Low Power, Fully Static Versions of 80C186/80C188; (2)Operation Modes: Enhanced Mode, DRAM Refresh Control Unit, Power-Save Mode, Direct Interface to 80C187 (80C186XL Only), Compatible Mode, NMOS 80186/80188 Pin-for-Pin Replacement for Non-Numerics Applications; (3)Available in 80-Pin: Quad Flat Pack (EIAJ), Shrink Quad Flat Pack (SGFP); (4)Available in Extended Temperature Range (b40℃ to a85℃ ); (5)Completely Object Code Compatible with Existing 8086/8088 Software and Has 10 Additional Instructions over 8086/8088; (6)Direct Addressing Capability to 1 MByte Memory and 64 Kbyte I/O.
Diagrams

| Image | Part No | Mfg | Description | ![]() |
Pricing (USD) |
Quantity | ||||
|---|---|---|---|---|---|---|---|---|---|---|
![]() |
![]() N80C186XL12 |
![]() |
![]() IC MPU 16BIT 5V 12MHZ 68PLCC |
![]() Data Sheet |
![]() Negotiable |
|
||||
| Image | Part No | Mfg | Description | ![]() |
Pricing (USD) |
Quantity | ||||
![]() |
![]() N80C186-25 |
![]() Other |
![]() |
![]() Data Sheet |
![]() Negotiable |
|
||||
![]() |
![]() N80C186EA25 |
![]() |
![]() IC MPU 16-BIT 5V 25MHZ 68-PLCC |
![]() Data Sheet |
![]() Negotiable |
|
||||
![]() |
![]() N80C186EB25 |
![]() |
![]() IC MPU 16-BIT 5V 25MHZ 84-PLCC |
![]() Data Sheet |
![]() Negotiable |
|
||||
![]() |
![]() N80C186XL12 |
![]() |
![]() IC MPU 16BIT 5V 12MHZ 68PLCC |
![]() Data Sheet |
![]() Negotiable |
|
||||
![]() |
![]() N80C186XL20 |
![]() |
![]() IC MPU 16BIT 5V 20MHZ 68PLCC |
![]() Data Sheet |
![]() Negotiable |
|
||||
![]() |
![]() N80C186XL25 |
![]() |
![]() IC MPU 16-BIT 5V 25MHZ 68-PLCC |
![]() Data Sheet |
![]() Negotiable |
|
||||
(China (Mainland))









