Product Summary
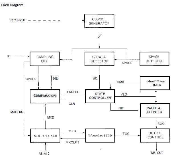
The UM3750 is a Programmable Encoder/Decoder. It is a CMOS/LSI digital code Transmitter-Receiver system. Working in the transmit (encoder) mode, the UM3750 will sequentially encode and transmit 12 bits of input. Each of the 12 bits may be 1 or 0 to allow 4096 different codes. In the receive (decoder) mode, the incoming signal is compared to the local code In a sequential manner Once an error IS detected the system will reset and beain its comparison on the next word. If all 12 bits are received correctly, a “valid” signal is generated. This signal clears a 64ms counter and triggers a 3-stage counter. The 3-stage counter counts the “valid” pluses and when 4 pulses have been detected, the TX/RX output pin goes low. After the TX/RX output pin goes low, the next “valid” must be received within 128ms, giving a one valid in 6 requirement to keep the TX/RX output pin.
Parametrics
UM3750 absolute maximum ratings: (1)Power Supply Voltage: -0.3v to 11v; (2)Operating Temperature: -20 ℃ to 70 ℃; (3)Storage Temperature (Tstg): -55 ℃ to 150℃; (4)Applied Voltage on any Pin, vss: -0.3 < VIN < VDD +0.3.
Features
UM3750 features: (1)Single chip contains both Encoder and Decoder; (2)3V to 11 V operation; (3)On chip oscillator uses non-critical RC components; (4)Cross interference of recetver is virtually eliminated by circuitry which requires 4 valid words to be received, each within 64ms of the other; (5)Schmitt Trigger input provides excellent noise immunity; (6)Applications. alarm control system, security system cordless telephone, remote control; (7)Interfaces with RF, ultrasonic, or infrared modulators I and demodulators.
Diagrams

| Image | Part No | Mfg | Description | ![]() |
Pricing (USD) |
Quantity | ||||
|---|---|---|---|---|---|---|---|---|---|---|
![]() |
![]() UM3750 |
![]() Other |
![]() |
![]() Data Sheet |
![]() Negotiable |
|
||||
![]() |
![]() UM3750A |
![]() Other |
![]() |
![]() Data Sheet |
![]() Negotiable |
|
||||
(China (Mainland))









